BMW จดสิทธิบัตรสกรูดีไซน์พิเศษ อาจทำให้เจ้าของรถซ่อมเองได้ยากกว่าเดิม
- โดย : รัฐศิลป์ รัตนกู้เกียรติ
- 23 ธ.ค. 68 21:20
- 1,191 อ่าน
ในขณะที่ผู้ผลิตรถยนต์บางค่ายพยายามทำให้การซ่อมบำรุงง่ายและเป็นมิตรกับเจ้าของรถมากขึ้น แต่บางรายกลับดูเหมือนกำลังเดินไปในทิศทางตรงกันข้าม ตัวอย่างเช่น Mercedes-Benz ที่เริ่มเปลี่ยนจากการใช้กาวมาเป็นสกรูเพื่อให้การซ่อมไฟหน้าทำได้สะดวกกว่าเดิม ขณะที่คู่แข่งรายใหญ่จากเยอรมนีอย่าง BMW กลับมีแนวคิดใหม่ที่อาจสร้างความปวดหัวให้กับทั้งช่างและสาย DIY

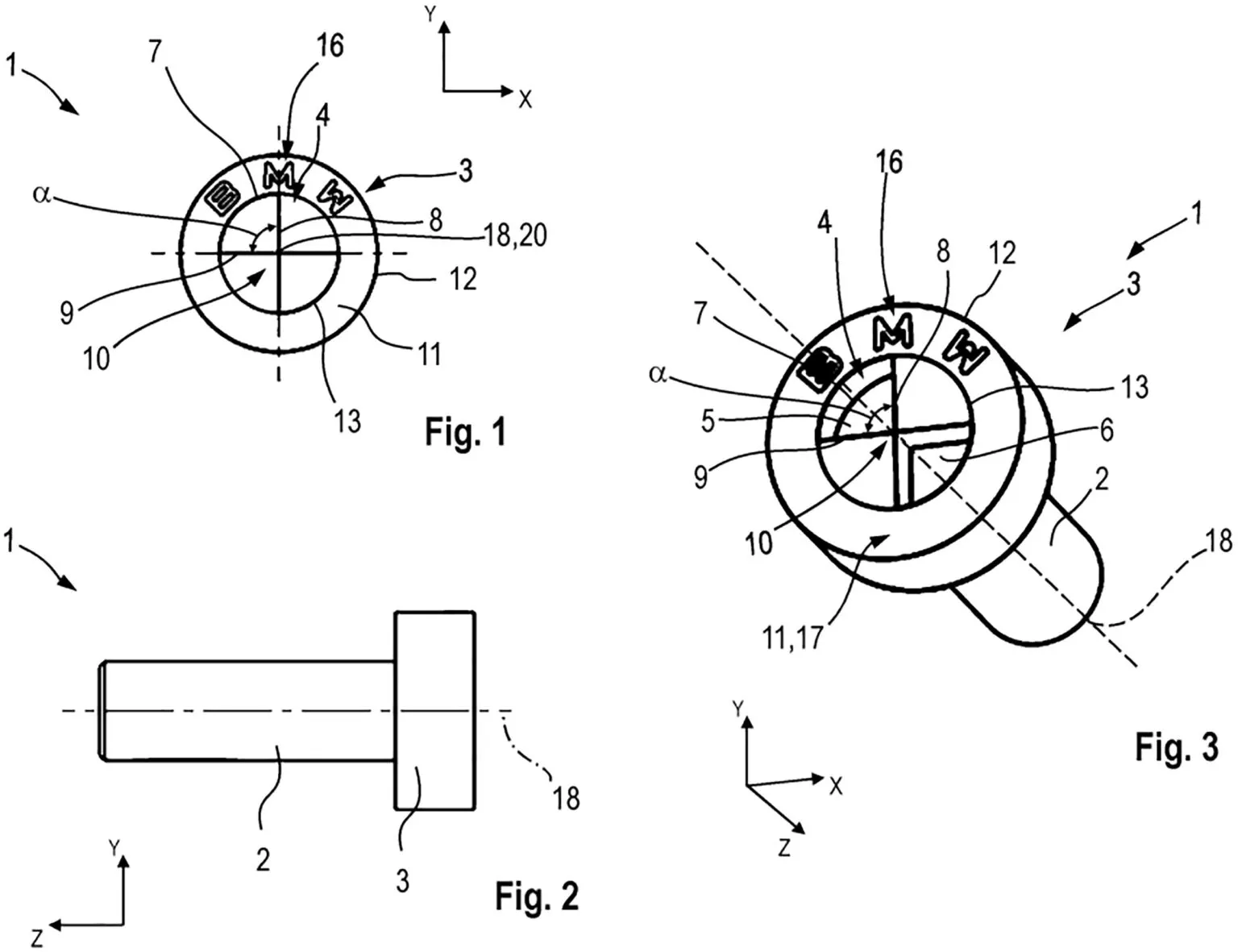
รายงานจาก Autoblog ระบุว่า BMW ได้ยื่นจดสิทธิบัตรสกรูรูปแบบใหม่ ซึ่งหัวสกรูถูกออกแบบให้มีลวดลายคล้ายโลโก้ BMW หรือที่เรียกว่า Roundel โดยไม่ใช้หัวสกรูมาตรฐานทั่วไป แต่เลือกใช้ดีไซน์เฉพาะที่มีการแบ่งเป็น 4 ส่วนตามสัญลักษณ์ประจำแบรนด์
เอกสารสิทธิบัตรระบุถึงหัวสกรูทั้งหมด 4 รูปแบบ ทั้งแบบหัวจม หัวแบน และหัวโค้ง ซึ่งทุกแบบมีโครงสร้างคล้ายกันคือแบ่งเป็นสี่ควอดแรนต์ สองส่วนเป็นร่องลึก ขณะที่อีกสองส่วนอาจเป็นพื้นเรียบหรือยกนูนขึ้นมา ส่งผลให้การขันหรือคลายสกรูเหล่านี้น่าจะต้องใช้เครื่องมือเฉพาะที่ออกแบบมาให้เข้ากับรูปทรงดังกล่าวโดยตรง
ในแง่ความสวยงาม หัวสกรูที่มีเอกลักษณ์แบบนี้อาจดูน่าสนใจ หากนำไปใช้กับชิ้นส่วนที่มองเห็นได้ในห้องโดยสารหรือห้องเครื่อง แต่ในมุมของการซ่อมบำรุง โดยเฉพาะสำหรับช่างอิสระหรือเจ้าของรถที่ใช้เครื่องมือมาตรฐานทั่วไป นี่อาจกลายเป็นอุปสรรคโดยไม่จำเป็น เพราะไขควงหรือบล็อกทั่วไปจะไม่สามารถใช้งานได้
สถานการณ์เช่นนี้อาจสร้างความยุ่งยากให้กับอู่ซ่อมรถอย่างมาก หากไม่มีเครื่องมือเฉพาะของ BMW ก็อาจไม่สามารถเข้าถึงชิ้นส่วนบางจุดได้ง่าย ๆ และสุดท้ายเจ้าของรถอาจถูกบังคับให้พึ่งพาศูนย์บริการอย่างหลีกเลี่ยงไม่ได้

กระแสตอบรับบนโลกออนไลน์ก็ไม่ได้เป็นบวกเท่าไร นักเลงรถจำนวนมากมองว่านี่คืออีกหนึ่งอุปสรรคที่ทำให้การดูแลรถด้วยตัวเองยากขึ้น แม้จะมีบางเสียงชี้ว่า ผู้ผลิตอุปกรณ์ aftermarket น่าจะสามารถผลิตเครื่องมือที่ใช้งานร่วมกันได้ในเวลาไม่นาน และมีการล้อเลียนกันว่าของเลียนแบบจากแพลตฟอร์มออนไลน์อาจออกมาขายก่อนที่สกรูเหล่านี้จะถูกนำไปใช้จริงเสียอีก
อย่างไรก็ตาม ยังไม่มีใครยืนยันได้ว่าสกรูดีไซน์นี้จะถูกนำมาใช้กับรถยนต์รุ่นผลิตจริงหรือไม่ เนื่องจากผู้ผลิตรถยนต์จำนวนมากมักยื่นจดสิทธิบัตรไอเดียที่ไม่เคยออกจากกระดาษ สิทธิบัตรชุดนี้ถูกยื่นเมื่อวันที่ 7 มิถุนายน 2024 และถูกเผยแพร่ต่อสาธารณะในวันที่ 11 ธันวาคม 2025 เท่านั้น
แม้สุดท้ายแนวคิดนี้อาจไม่เกิดขึ้นจริง แต่ก็สะท้อนภาพรวมของอุตสาหกรรมยานยนต์ยุคใหม่ ที่รถยนต์กำลังซับซ้อนขึ้นเรื่อย ๆ และเจ้าของรถต้องพึ่งพาศูนย์บริการเฉพาะทางมากขึ้นทุกที เมื่อเทคโนโลยีและระบบไฟฟ้าเข้ามามีบทบาทมากกว่าที่เคย
ที่มา Carscoops
ติดตามข่าวสารรถยนต์รวดเร็วก่อนใครได้ที่ AUTODEFT.com




